一、 概述
厌氧培养箱是一种在无氧环境条件下进行细菌培养及操作的专用装置。它能提供严格的 厌氧状态恒定的温度培养条件和具有一个系统化、科学化的工作区域。在本装置内操作培养,可以培养**难生长的厌氧生物,又能避免以往厌氧生物在大气中操作时接触氧而死亡的危险性。因此本装置是厌氧生物检测科研的理想工具。本装置也是一物多用的良好仪器,如改变操作方法,为微氧菌的生长繁殖提供良好的生长条件。 二、 特点
M4794型
厌氧培养箱是由恒温培养室、真空取样室、厌氧操作室、气路、电路控制系 统、箱架、瓶架等部分组成。整机造型新颖,结构紧凑,具有厌氧环境好,密封性能好,气检温控精度高,稳定性好,使用方便,省气、经济、工作安全可靠优点。其特点如下: 1.使用科学先进手段达到厌氧环境的高精度、其恒定性能好,使用可靠。
2.培养箱温控采用高指示精度的数字显示温度调节仪,不仅能准确直观地反映箱内温度,而且确保温度调节器在失控的情况下,能自动进行温度再控制,是一套有效的限温?;ぷ爸?,确保培养物在安全温度环境条件下生长。
3.箱内装有紫外线杀菌灯,气体经过过滤后进入箱内,可有效地避免杂菌污染。 4.气路装置,可任意准确调节流量,能任意输入各种所需气体。
5.内套均由不锈钢板制成,光洁雅致,防腐耐用,活动式搁板支架造型新颖,使用方便。 6.操作室前窗采用厚透明特种玻璃制作,能清晰直接观察室内操作情况,操作使用塑胶手套可靠舒适、灵活,使用方便。
7.操作室内备有特殊接种棒灭菌器,并附设有试管内熔蜡装置。 8.室内装有除氧催化器。
三、主要技术指标
1.取样室形成厌氧状态时间小于5分钟。
2.操作室形成厌氧时间小于1小时(抽气充气转换)。
3.操作室在停止补充微量混合气体的情况下,厌氧环境维持时间大于12小时。 4.使用温度:室温+0.3℃~50℃。
5.培养箱温度波动≤±0.3℃;温度分布均匀性±1.0℃。
6.操作室内体积:高650毫米、宽920毫米、长600毫米,培养箱内体积:高300毫米、宽250毫米、长200毫米。
7.电源220V±10%AC,功率:600W。
四、安装
1.整机应安放在温差较小,操作方便的位置,应避免阳光直晒和远离采暖设备。放置要平稳。 2.将混合气瓶、氮气瓶,平稳安放在瓶架上,并分别装好减压阀。(含压力表),将瓶架置于机架下。
3.接上气路并检查气路,为防止漏气,必要时可在各接管处用密封胶粘合。 五、使用
(一)操作室厌氧环境形成
1.按使用要求放置好必要的附件和器具,并向操作室内放入二个无毒塑料袋。 2.通电源开照明灯,开控温仪,调节所需温度及安全温度。
3.操作室内放入1000g钯粒(封闭)和500g干燥剂,并放入美兰指示剂(封闭)。 4.关紧取样室内外门,并抽真空校验。
5.操作室内**次置换。(氮气置换)。
1) 先用橡皮管插入操作室内进气口,另一头插入塑料袋。
2) 接通氮气控制阀,使二只塑料袋充足氮气,然后扎紧塑料袋。3) 把乳胶手套套在观察板法兰圈上并扎紧。
4) 把塑料袋内氮气渐渐地放于操作室内,**全部放出。
6.操作室第二次置换(氮气置换)重复一次充氮过程,并注意随时用脚踏开关开闭排气。 7.操作室第三次置换(混合气体置换)。
(混合气体配比为:N2↑85%、H2↑10%、CO2↑5%)
1) 调换气路打开混合气直通阀门进气,充气时要随时脚踏开关开闭排气。
2) 混合气充满塑料袋后,关掉混合器直通阀(三通阀)使混合气经过稳流器、流量计输入操作并调整流量计,流量为每分钟10毫升左右。 3) 把塑料袋内混合气体渐渐排出于操作室内。
4) 通过三次换气后,操作室内气体含氧量已处于极微量状态。
8.操作室内打开钯粒除氧剂,接通除氧催化器电源进行催化除氧,一小时后打开美兰指示剂(美兰安瓶)观察其变色情况,不变色为操作室内达到厌氧环境。 9.开紫外线灭菌灯,室内进行灭菌处理。灭菌时间自定。 (二)菌种的置入和培养
1.检查取样室内门并关紧之。
2.打开取样室外门,将菌种放入取样室后即关上外门。
3.取样室充氮置换三次过程:先抽真空度500毫米汞柱(66kpa)以上停,然后人式打开氮气阀门进气,使指针回复零位后进行下次操作。 4.如选室真空度较低就需要增加置换的次数。
5.取样室内外门开启,关紧要抽低真空度100毫米汞柱(13kpa)检验及帮助操作。 6.
厌氧培养箱需要长期连续使用的条件:
1) 每天在操作室内打开美兰指示剂观察,正常情况下使用。如不正常就必须重新换气。 2) 要长期连续输入微量的混合气体,使补进的氢气能和微量的氧结合通过催化吸收,保证
了室内厌氧状态,补入混合气流量选定为每分钟10毫升左右。 3) 连续培养运行**,更换一次除氧剂和干燥剂。 #p#分页标题#e#
7.接种棒灭菌器的应用:
1) 随时用镍铬电热丝使电极短路而变赤热以进行杀菌(接种棒)。
2) 熔蜡处可直接放上,试管封蜡口旋转熔蜡。 8.操作室内培养箱内室温度可任意选择和控制。
9.混合气瓶、氮气瓶输出压力调整:调节减压阀,使输出压力为0.1Mpa左右。 六、注意事项
1.仪器尽可能地安装于空气清净,温度变化较小的地方。
2.开机前应全面熟悉和了解各组成配套仪器、仪表的说明书,掌握正确使用方法。 3.培养物放入必需是在操作室内达到**厌氧环境后放入。
4.如发生故障(停气等原因)操作室内扔可保持12小时厌氧状态。(超过12小时则根据需要把培养物取出另作处理)。 5.经常注意气路有无漏气现象。
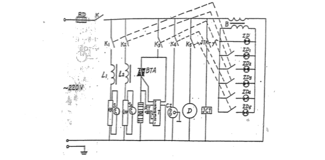
6.调换气瓶时,注意要扎紧气管,避免流入含氧气体。 7.真空泵按要求使用,定期检查加油。 七、电气原理图

M4794型熔腊消毒器使用说明书
一、 用途、特点
M4794型熔腊消毒器系M4794型厌氧培养箱配套装置,也能配套在任何G外厌氧箱上 使用。也可作医用上的单独使用仪器。该仪器吸取了G外消毒器的长处,并具有体积小、用电省、功能齐等优点,是一种较为理想的医用熔腊消毒器。 二、 主要技术指标 1. 工作电源:220V,50Hz 2. 功率:熔腊50W;消毒20W
3. 外形尺寸(长×宽×高):200×103×145(mm) 4. 重量:2kg
三、 使用方法
1. 使用前把电源插头插上,接通电源,并打开仪器面板上的电源开关,此时电源指示灯应发亮。
2. 熔腊功能:打开仪器面板上的熔腊开关,此时熔腊指示灯应发亮,稍等几分钟,后面板 上熔腊头子发热,试管可接近熔腊头子上的小铜块旋转慢慢熔腊。
3. 消毒功能:打开仪器面板上消毒开关,此时消毒指示灯应发亮,并插上后面板上的消毒扁插头,这时电热棒发热,同时将电热丝触碰顶部的两根铜极(长的两根),电热棒上的电热丝会发红,将发红的电热丝伸入试管内少许时间即可消毒。 4. 仪器使用完毕后应切断电源,放置在干燥清洁的地方。
