一、
用途
本产品供医疗单位放射科作快速干燥胶片之用。
二、
结构特点
本胶片
干燥箱为立体式结构,顶部箱盖采用特大观察窗设计。便于观察箱内情况。箱体选用优质薄钢板制成、表面喷塑。电动送风机、数显温控仪、电加热器为本机三个主要部件。
1. 电动送风机,装置于箱底部运转时由离心式风扇叶轮将上部空气吸**风机入口,然后在箱体前后夹层内向上排出,流经工作室干燥胶片,再吸**送风机入口,如此不断循环而获均衡之热源。同时,胶片
干燥箱左侧排气道将大量的湿空气排出箱外。
2. 数显温控仪,本仪表装置于箱底前下部,采用微电脑技术控温,控温灵敏可靠,精度高。可根据箱内干燥胶片的数量及所处环境的不同温湿度情况,非常方便地设定所需的干燥温度并可靠地加以控制。
3. 电加热器装置于箱体前后夹层内,共有二个发热单位、由面板上的电源开关和控制器控制。
三、
主要技术指标
|
序号 |
项目 |
技术指标 |
|
1 |
控温范围 ℃ |
室温+5~70 |
|
2 |
温度波动 ℃ |
±1 |
|
3 |
显示和给定允差℃ |
±2 |
|
4 |
工作电压 |
~220V/50Hz |
|
5 |
电热器功率 VA |
600×2 |
|
6 |
电机功率 |
15W |
|
7 |
工作室尺寸cm |
59×37×57 |
|
8 |
外形尺寸cm |
65×51×95 |
|
9 |
包装箱尺寸cm |
80×67×100 |
|
10 |
净重/毛重kg |
80/115 |
四、
控温仪操作说明:(配用仪表,TBD-5211T)
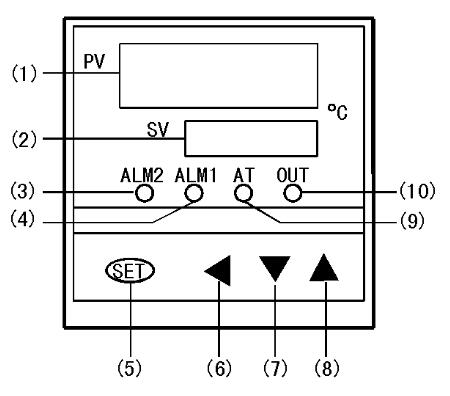
控温仪控制面牌

1. 面牌布置说明:
(1)测量值显示窗 (6)移位键(启动/停止键)
(2)设定值显示窗 (7)减数键
(3)报警2指示灯 (8)加数键(自整定键)
(4)报警1指示灯 (9)自整定指示灯
(5)设定键 (10)主控输出指示灯
2. 按键操作:
仪表一上电,上排数码管显示测量温度,下排数码管显示设定温度。若短按SET键则进入温度设定状态,上排显示SP提示符,下排显示设定温度,再按一下SET键,上排显示ST提示符,下排显示设定时间。若长按住SET键5S,则进入参数设定状态,上排显示提示符,下排显示参数值。通过?、▼、▲键可修正参数。参数设定完毕后,按住SET键5秒退出设定状态。在正常状态下长按住▲键5秒,AT自整定灯亮,即进入自整定状态。整定结束,AT灯灭,仪表回到正??刂谱刺?;若在自整定过程中进入设定状态,则退出自整定程序。
参数列表如下:
|
提示符 |
数值范围 |
功能定义 |
出厂值 |
|
SP |
SPL~SPH |
温度设定值 |
随机 |
|
ST |
0~9999分 |
时间设定值 |
随机 |
|
长按SET键 |
|
Lock |
0~9999 |
参数锁 |
0 |
|
SC |
-50.0~+50.0℃ |
测量值修正量 |
随机 |
|
Lock为8000 |
|
P |
0.1~50.0℃ |
输出比例带 |
随机 |
|
I |
1~400 |
积分时间 |
随机 |
|
d |
0~100 |
微分时间 |
随机 |
|
T |
1~200 |
输出比例周期 |
随机 |
|
AL1 |
-20~+20℃ |
偏差报警 |
2℃ |
|
ET |
0~2 |
定时功能选项 |
0 |
|
Pr |
1~100 |
恒温功率上限百分比 |
随机 |
|
SPL |
量程下限~SPH |
温度设定值低限 |
0℃ |
|
SPH |
SPL~量程上限 |
温度设定值高限 |
70℃ |
3. 各功能详细说明:
1) 在各设定状态通过按加数键、减数键和移位键可快速设置各参数,设定结束需按SET键确认,否则无效。当Lock为0时,只有SC参数可修改;当Lock为8000时,除SC 外,所有参数均可修改。
2) 参数SC为测量值修正量,可修正由传感器及引线长短引起的测量误差。若实际温度比仪表测量温度高2℃,则SC在原来基础上加2℃;反之则反。
3) 参数P为输出比例带,系统的惯性越大,则P值应越大。
4) 参数I为积分时间,积分时间越小,积分作用越强?;肿饔糜糜谙膊?。
5) 参数d为微分时间,微分时间越大,微分作用越强;当d为0时,无微分作用。微分作用能产生超前控制,提高动态调节品质。
6) 参数T为输出比例周期,T值越小则控制性能越好。但触点开关式输出时应考虑中间继电器的寿命,T值应为20以上。
7) 参数AL1为报警1值,测量值偏离设定值∣AL1∣℃后报警,AL1设为0时为到点报警,设为正值为上偏差报警,设为负值为下偏差报警。
8) 定时功能选项参数ET为0时,无定时功能,时间设定菜单隐藏;ET为1或2时,显示时间设定菜单ST。若ST设为0则不计时,否则,ET为1时,仪表一上电就开始计时;ET为2时,当温度达到设定值时启动计时。定时采用倒计时方式,开始计时,则下排显示剩余时间,计时结束,则下排显示STOP,运行停止,输出关断,同时有断续蜂鸣声提醒,按任一键可消音。连续按?键3秒可启动或停止程序运行。
9) 参数Pr为恒温功率上限百分比,对于输出控制加热的系统,Pr对应于设定值高限(SPH)恒温时所需功率占加热总功率的百分比。根据系统要求可先确定设定值低限(SPL)和设定值高限(SPH),再根据系统的功率配置及系统的保温性能设置合适的Pr值,一般若系统的功率配置偏大或保温性能很好,则Pr值应小,能防止冲温;反之则Pr值应大,能提高升温速度。通常一个系统在不同的设定温度下自整定得出的P、I、D参数是不同的,一般建议在系统低温端整定参数,而用于高温端时可能升温较慢,此时调整Pr值即可使系统在整个范围内都能达到很好的控制效果。
10) 当SV窗显示
? ? ? ? 时,表示传感器开路、短路或温度超出仪表测量范围。
4. 控温接线示意图:

一、
使用说明
1.将夹在洗片架上已清洗的胶片沥去滴水、然后放在工作室的槽架上。并把箱盖关闭。
2.温度选择和设定
1) 在一般情况下和热天,将温控仪加热控制温度选择设定在50℃
2) 在箱内挂满胶片,环境湿度较高季节或寒冷天时、将温控仪加热控制温度选择设定在65℃。
3) 也可视具体情况,将加热控制温度选择设定在50℃**65℃之间内任一适宜温度。
3.将电源插头插在~220V电源插座上、接通电源。

且电源插座应有可靠接地。
4.智能控温仪使用详见四、控温仪操作说明。
5.如果温度波动度较大时可根据操作说明上的提示方法进行自整定操作,以修正PID数值。
六、注意事项和维护修理
1、放置和取出胶片时,

必须关闭电源开关。
2、

使用前必须注意所用电源电压与所规定的电压相符、并将电源插座接地极按规定进行有效地接地。
3、每次使用完毕后须将电源全部切断。
4、经常保持箱内外清洁。(工作室底板为活络式,将里面下端螺钉旋开,整个底板可拿出来清理干净。)
5、非必要时,不得随意拆卸温度控制仪,以防损坏。
6、在箱体右侧下部进风罩壳内装有空气过滤铜丝网,应定期拆下清洗。
7、操作使用本箱前,请详细阅读说明书,以防误操作。
七、运输、贮存
1. 搬运时必须小心,不可倒立运输,小心轻放。
2. 贮存在相对湿度不超过80%,无腐蚀性气体和通风良好的室内。
八、售后服务
本设备实行三包(包修、包换、包退),保修期为一年(除发热元件外)。保修期内凡是非人为因素而发生地损坏或不能正常工作时,我公司负责免费维修或更换产品零件;一年后本着为用户服务的精神,尽力为用户提供方便。
装箱单
|
序号 |
名称 |
类别 |
数量 |
备注 |
|
1 |
JP-II型X线胶片干燥箱 |
主机 |
1台 |
|
|
2 |
使用说明书 |
文件 |
1份 |
|
|
3 |
合格证 |
文件 |
1份 |
|
|
4 |
保修卡 |
文件 |
1份 |
|
|
5 |
本装箱单 |
文件 |
1份 |
|
|
6 |
熔絲管 |
备件 |
1只 |
|